Non-Periodic Phenomena in Variable Stars 

                                               IAU Colloquium, Budapest, 1968


            PHOTOELECTRIC OBSERVATION OF LINE PROFILES WITH HIGH 
                 TIME RESOLUTION IN B AND Be STARS

                         J. B. HUTCHINGS
        Dominion Astrophysical Observatory, Victoria, B. C. Canada


                          INTRODUCTION

  One of the most important problems connected with the observation 
of irregular variable stars is that of spectroscopic time resolution. In a star 
whose variable properties are not repeated in a predictable manner it is 
essential to make continuous observations until the time scale and magnitude of 
its variations become apparent. In addition, high time resolution observation 
may reveal short time variation in properties of stars previously thought to 
be stable. It is known that many early type stars for instance, especially 
those having emission lines (and hence extended atmospheres), show changes 
in their spectra, but until we can watch such changes taking place we cannot 
expect to explain their occurrence.
   High dispersion high time resolution spectrophotography is limited to 
the few brightest stars or the few largest telescopes in the world. Both of 
these limitations are unsatisfactory, but as the photomultiplier is some 10 
to 20 times more efficient than the photographic plate it is the obvious choice 
for such work. In addition the photomultiplier's linear response to light enables
one to obtain direct intensity profiles immediately, saving hours of daytime 
drudgery, and allowing on-the-spot monitoring of the results.
   Several systems for photoelectric line scanning are being developed now, 
so it is important to discuss the techniques being used in order to achieve 
reliable cross-comparison of results and to overcome design and performance 
problems. It is also important to bring to the attention of astronomers the 
sort of work which can be done with this technique. I propose therefore to 
describe the Victoria scanner and the problems in its operation and then show 
the results which early runs on it have produced. These results should at 
this stage be regarded as an introduction to the astrophysical problems brought 
to light by the observation.


                        THE SCANNER

   Basically the scanner is a photomultiplier, Fabry lens, and slit which 
are moved in a straight line tangential to the focal plane of the 96" focal 
length coude spectrograph of the Victoria 48" telescope, using an accurate 
screw and speed stabilised motor. The dispersion in the spectrum is about 
2.3 A/mm and with the present resolution scans of up to 50 A are possible 
before defocussing is significant.
   The motor speed is continuously variable by remote control and is normally 
used in the range between 0.5 and 50 A/minute. The speed is constant to within 
1 % at any setting. The screw trips a micro-switch every revolution, which 
provides a fiducial mark on the tracing every 2.3 A. Thus the wavelength 
scale on the tracing is accurate to within .02 A, which is far below the 
resolution of the instrument.
   The zero point of the wavelength scale is determined by scanning the 
comparison spectrum, which is an Fe-A discharge tube. This comparison 
exactly replaces the stellar spectrum by means of a swinging quartz prism. 
Initially a grating setting is made and the exact position of the scan 
identified by making a scan of the comparison spectrum. Once the position and 
length of the scan are decided, they can be fixed by means of adjustable limit 
switches on the screw.
   The cooling mechanism is thermoelectric, with the hot junction cooled 
by water circulation. Temperatures accurate to 1 deg C, down to -30 deg C are 
remotely controlled. The best compromise between thermal noise and light 
response is obtained at about -20 deg C with the EMI tube used in the 
blue.
   The recorded tracing is the ratio of the output of two channels - the 
scanner and a monitor channel. The monitor system measures light reflected 
off a diagonal quartz plate in the beam immediately behind the objective 
slit. The output from each channel is amplified and impedances matched. 
Further optional adjustments allow the scale of the tracing and the time 
constant to suit the speed of scan and brightness of the star. A filter is used 
in the main beam to isolate the spectral region being scanned for the monitor 
response. Using this system, variations in seeing and extinction during the 
time of scan are largely overcome. A 25% change in light transmitted through 
the slit results in a 2% change in the recorded output. In good conditions the 
seeing variation is less than 5% over the time for a scan so that final 
accuracy can be well within 1%.
   In order to achieve this stability however it is necessary to pass most 
of the starlight through the objective slit, which requires a width of about 
7 mm. The resolution of the scanner is then some 0.5 A. While this is not 
very high it is sufficient to indicate changes which occur is spectral features 
of almost all early type stars.
   Finally I should mention the disadvantages of the system and possible 
ways of overcoming them. The monitoring system used requires a filter which 
cuts down light or covers too wide a range in wavelength. It also requires a 
wide slit. Unevenness or dirt on the quartz flat can lead to inaccuracy in the 
monitoring system, and defocussing and decollimation effects are not monitored. 
A stationary monitor channel covering some 10-20 A in the spectrum would 
overcome all these drawbacks. It would also allow the limiting magnitude 
to be increased by one, or the resolution to be improved for brighter 
stars. Efficiency and resolution could also be improved by replacing both 
slits with image slicers of the type now used for spectrography in Victoria. 
This would require redesign of the Fabry optics, but is a possibility. Lastly, 
a recorder which showed both monitor and ratio outputs would assist in 
the assessment of the profile accuracy.
   At present the scanner can produce profiles in the blue region of early 
type spectra of 2% accuracy in a 4th m. star over 20 A in some 5 minutes, 
or 3% accuracy in a 6th m. star over 6 A in about the same time.


                         RESULTS

    The figures below show selected profiles of lines in some early type 
stars which show irregular and rapid spectral changes.

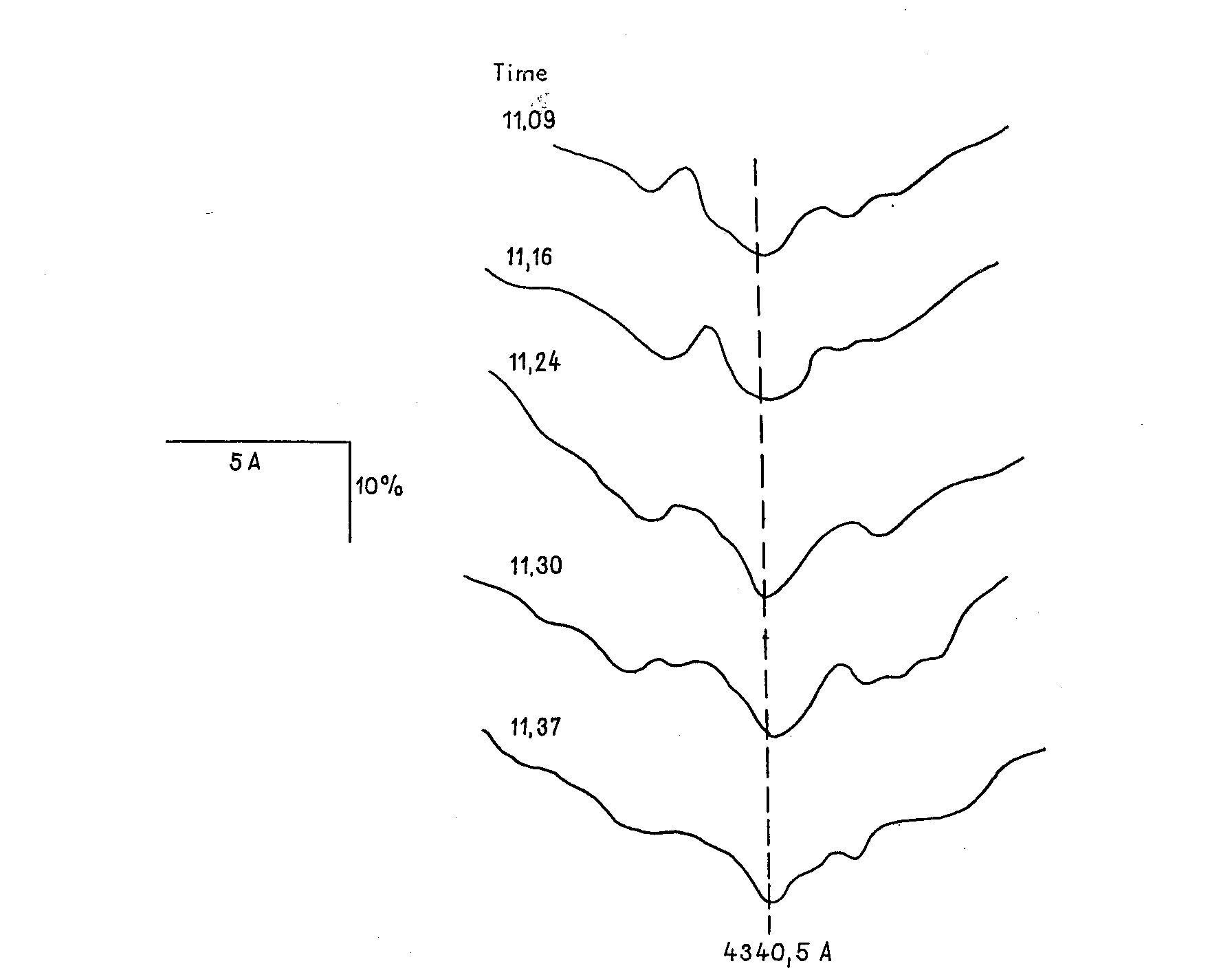
1. gamma Cas. Figure 1 shows series of profiles of H gamma and H beta taken on 
two consecutive nights. Each shows rapid change in the double emission structure 
found in this Be star. The star is well known for its longer term changes and
similar short term changes have been obtained previously (Hutchings 1967, 1968). 
The separation of the H gamma peaks here falls fairly steadily during the 
period of observation, increases sharply at the second last profile and then 
starts to fall again. This is shown by the table below.

time                         4.03 4.07 4.10 4.13 4.16 4.21 4.24 4.27 4.31 
separation (arbitrary units) 3.9  3.7  3.6  3.5  3.6  3.4  3.3  3.9  3.6

Whether this is a regular phenomenon or not must be decided by further 
systematic observation.
2. kappa Dra. This is another Be star, with much weaker emission components. 
Figure 2 shows a series of scans of the emission components in the bottom of 
the H gamma line. Here again there is rapid activity, especially in the shortward
peak, whose sharpness appears to fall off steadily throughout the time of 
observation. Further observation is needed to confirm and study this type of 
activity, which may be connected with the rapid rotation of the star. This 
star also shows emission peaks in other lines, often very weakly, but whose 
mean separations are quite different. Again, evidence so far is fragmentary
but it may indicate differential rotation of the stellar envelope with height 
or even latitude. The following table gives tentative velocity ranges for 
various lines.




           Fig. 1. Line profiles in gamma Cas




           Fig. 2. Scans of H gamma in kappa Draconis 30/5/68



       Line      4471    4481   H gamma  H beta    H alpha 
                                                 (triple peaked)

 Vel. indicated
   by peak      490-650 400-520 210-300  160-240  170-650km/s 
   separation



Other lines without emission (4921, 4713, 4387, 4267, 4143) all have 
rotationally broadened profiles indicating v sin i about 350 km/sec.
   The star is being investigated further observationally and by computation 
of line profiles for various geometrical models.




         Fig. 3. Scans of H gamma in B-type supergiants


3. B Supergiants. Figure 3 shows profiles of H gamma for the B3 supergiant 55 
Cygni, and for P Cygni. The core of the H gamma absorption in 55 Cygni is seen 
to be in rapid and irregular activity. As the line core is formed in the outer 
layers of the atmosphere and the star is probably undergoing mass loss 
(Hutchings 1968a), this type of observation may be a valuable method of extracting 
information about the atmospheres of such stars. This sort of activity is seen 
in other supergiants (Hutchings 1967). Scans of the B 1.5 supergiant HD 190603 
have shown rapid changes in strength in the O II line at 4351 A, which may 
indicate temperature fluctuations in the atmosphere.
   The scans of P Cygni, which is losing mass fairly rapidly show evidence 
of irregular changes in the shape of the emission peak. These may provide 
a further clue as to the dynamic state of the outer layer of this peculiar star.


                             CONCLUSION

  In conclusion I should mention other objects for observation by this 
technique. There are the chromospheric absorption lines in Ca H and K of 
the eclipsing systems 31 and 32 Cygni; the rapidly changing profiles in bright 
novae, and the line profiles at various stages in the cycles of beta Cephei stars.
It is also hoped to use the apparatus for obtaining accurate profiles of rapidly
rotating stars, for comparison with theoretical ones.
  I must acknowledge the help of the D.A.O. workshop staff, Mr D. Andrews, 
Mr W. Symthe, and Dr G. A. H. Walker, without whose guidance this work 
could not have been done.


                             REFERENCES

Hutchings, J. B., 1967, Observatory 87, 289.
Hutchings, J. B., 1968, Mon. Not. R. astr. Sec. (in press). 
Hutchings, J. B., 1968a, Trieste Colloquium on Mass Loss (in press).


                             DISCUSSION

Slettebak: Do you find changes in the line profiles of Be stars of the type 
   you discussed every time you observe these stars, or did your illustrations 
   show selected moments of large change?
Hutchings: I have found variations in the stars which I have mentioned 
   during most observing runs. However those shown today were selected 
   as showing the most marked variations. Photographic observations of 
   these stars have shown smaller variations but this is partly due to 
   smearing out of the changes by the length of exposure necessary.
Slettebak: I have observed gamma Cas on one other night and found less 
   variation. Spectrograms taken in Victoria also show less activity but 
   the length of exposure quite probably smears out the changes shown here.
De Groot: The variations that you mentioned in the emission line profile 
   of H gamma are also indicated in our material; but there they are 
   more difficult to detect because our profiles are from photographic 
   observations. The emission peaks sometimes are quite black and difficult to 
   reduce, but there are indications for the same variations.